面对上周四 (8月1日) 美股走弱,其中纳指跌幅达2.30%影响,周五港股显著受压,恒指低开近280点,开报17,025点,险守万七关口,虽于开市初段曾见高走,不过亦仅高见17,075点 (见于上午9:55),已是全日高位,却不见得与万七关口有明显差距。开市不足半小时又见走弱,自上午10:15起恒指持续处于17,000点以下,下午开市约半小时见全日低位16,865点,最多跌近440点,尾市虽见高走,收市前不足半小时高见16,960点,但始终未见复恢万七关口,最终收报16,945点,自4月24日以来首度收低于17,000点。
非农数据三年半低
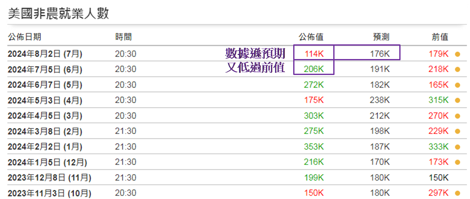
现需关注今日 (8月5日) 恒指表现,上周五美股开市前公布非农数据,7月值为11.4万份新增职位,远逊预期值17.6万份,更低于前值20.6万份,为2021年2月值以来最低,相隔三年半,令美股于周四走弱后又见低开,纳指继续表现最差,低开超过2.40%,较周四跌幅还要大,令恒指继周四和周五下跌后,今日续跌风险增加。那么恒指将见连续两个交易日收低于17,000点,后市便不容乐观。早前4月22日至5月6日港股曾见十连升,意味着当时未尝出现横行区,故此令恒指现时缺乏支持位参考。

数据源:www.investing.com
回补裂口难以防守
4月23和24日恒指曾见上升裂口,介乎16,846至16,934点,现于16,945点已落到接近回补此裂口,所以市场上有分析指16,800点可望有支持,不过若大家记得笔者于7月29日发布的市评文章,命题后半部写到「恒指若失万七关注下一站」,当时文末表示恒指若见连续两天收低于17,000点,预期落到16,200点才见支持。有此看法正是基于上述4月22日至5月6日走势,令恒指现时缺乏支持位参考,所以认为16,800点见支持机会不大。而于7月29日和8月1日两度发布市评文章,都提醒大家要留心人民币走向。
转为美股走势主导
于8月2日港股开市时,美元兑人民币在岸价报7.2443,至下午4:00港股收市则报7.2157,期间人民币走强近0.40%,恒指仍见低走80点 (17,025 → 16,945点),未见受惠于人民币走强。而当晚美股开市时,在岸价报7.1830,较7.2157进一步走强超过0.45%。于美股开市一小时后,在岸价经报7.1625,人民币于日内经已走强逾1.14%,当时港股夜期报16,873点,下跌94点,又在人民币走强之际港股却走弱,反映港股表现已由之前人民币走势主导,转为美股走势主导。虽然如此,人民币走强港股尚且见跌,倘若人民币转弱预期港股将跌得更急。

数据源:www.investing.com
另想指出7月22日发布另一市评文章时曾写到高盛在7月17日发给客户的备忘录中提到,根据1928年以来的资料,7月17日通常标志着美股回报的转折点。之后紧随而来的8月,通常是被动投资和共同基金资金外流的最糟糕月份。于7月17日纳指下跌2.77%,收报17,996点,至8月2日开市仅一小时已报16,677点,只是踏入第十二个交易日便累跌逾1,300点,跌幅逾7.30%。如今8月才刚开始,预期美股仍有下跌空间,留意纳指于万六关口有否支持,故此看恒指本月要低见16,200点不无道理。
聂振邦(聂Sir)
笔者确认本人及其有联系者均没有出现以下两种情况,其一是在执笔前三十天内曾交易上述分析股票;其二在文章发出后三个营业日内交易上述的股票。此外,笔者现时也并未持有上述股份。
以上纯属个人研究分享,并不代表任何第三方机构立场,亦非任何投资建议或劝诱。读者务请运用个人独立思考能力自行作出投资决定。